Disassembly and Assembly

DISASSEMBLY AND ASSEMBLY
DISASSEMBLY SERVICE POINTS
<> BALL BEARING REMOVAL

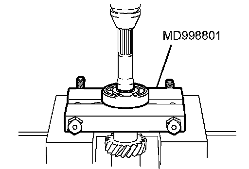
1. Using special tool MD998801, support the ball bearing, and then set them on the press.
2. Push down on the input shaft with the press and remove the ball bearing.
<> THRUST PLATE STOPPER REMOVAL

Using a screwdriver, pry up at the position shown in the illustration and remove the thrust plate stopper.
<

1. Using special tool MD998801, support the 5th speed gear, and then set them on the press.
2. Push down on the input shaft with the press and remove the 5th speed gear.
<

1. Using special tool MD998801, support the 3rd speed gear, and then set them on the press.
2. Push down on the input shaft with the press and remove the 4th speed gear sleeve.
<

1. Using special tool MD998801, support the ball bearing, and then set them on the press.
2. Push down on the input shaft with the press and remove the ball bearing.
ASSEMBLY SERVICE POINTS
>>A<< OIL SEAL INSTALLATION

Install the oil seal into the end of the input shaft as shown.
>>B<< BALL BEARING INSTALLATION

1. Using special tool MD998801, support the 2nd speed gear portion of the input shaft, and then set them on the press.
2. Using special tools MD998812, MD998813 and MD998816, press install the bearing with the press.
>>C<< SNAP RING INSTALLATION

1. Install the thickest snap ring that can be fitted in the snap ring groove of input shaft.
2. Make sure that the ball bearing end play meets the standard value.
Standard value: 0 - 0.12 mm (0 - 0.0047 inch)
>>D<< SYNCHRONIZER SPRING INSTALLATION

Install the synchronizer spring onto the synchronizer ring as shown.
>>E<< SYNCHRONIZER RING INSTALLATION
CAUTION: There are 3rd speed and 4th speed synchronizer rings, if the wrong one is installed it will effect the shift feeling.

1. Ascertain whether or not there are identification notches on the synchronizer ring.
Two notches: 3rd speed synchronizer ring
No notches: 4th speed synchronizer ring
2. Install the synchronizer ring so that it completely fits over the machined cone of the gear.
>>F<< 3RD-4TH SPEED SYNCHRONIZER HUB INSTALLATION

1. Using special tool MD998801, support the 2nd speed gear portion of the input shaft, and then set them on the press.
2. Make sure that the synchronizer ring has been perfectly matched to the 3rd speed gear cone.
3. Check the installation direction of the 3rd-4th speed synchronizer hub, and put it on the input shaft.

4. Using special tools MD998812, MD998813 and MD998825, press install the 3rd-4th speed synchronizer hub with the press.
5. Make sure that the synchronizer ring can rotate freely.
>>G<< SYNCHRONIZER SLEEVE INSTALLATION

1. Check the installation direction of the synchronizer sleeve, and install it onto the 3rd-4th speed synchronizer hub.

2. Install the synchronizer sleeve so that the areas with teeth that have raised tips (three areas total) are aligned with the areas on the synchronizer hub that have deep grooves between the teeth (three areas total).
>>H<< 4TH SPEED GEAR SLEEVE INSTALLATION

1. Using special tool MD998801, support the 2nd speed gear portion of the input shaft, and then set them on the press.
2. Using special tools MD998812, MD998813 and MD998824, install the 4th speed gear sleeve with the press.
>>I<< 5TH SPEED GEAR INSTALLATION

1. Using special tool MD998801, support the 2nd speed gear portion of the input shaft, and then set them on the press.
2. Using special tools MD998812, MD998813 and MD998824, install the 5th speed gear onto the input shaft with the press.
>>J<< THRUST PLATE INSTALLATION

1. Install the thickest thrust plates that can be fitted in the groove of the input shaft. Install the thrust plate so the surface stamped with the identification mark is facing up.
2. Make sure that the 5th speed gear end play meets the standard value.
Standard value: 0 - 0.09 mm (0 - 0.0035 inch)
>>K<< THRUST PLATE STOPPER INSTALLATION

Install the thrust plate stopper by pressing special tools MD998812, MD998813 and MD998824 by hand. Make sure that it is not tilted.
>>L<< BALL BEARING INSTALLATION

1. Using special tool MD998801, support the 2nd speed gear portion of the input shaft, and then set them on the press.
2. Using special tools MD998812 and MD998818, install the ball bearing onto the input shaft with the press.
>>M<< SNAP RING INSTALLATION

1. Install the thickest snap ring that can be fitted in the groove of the input shaft.
2. Make sure that the ball bearing end play meets the standard value.
Standard value: 0 - 0.12 mm (0 - 0.0047 inch)