Front Axle



REMOVAL AND INSTALLATION
CAUTION: For vehicles with ABS, do not strike the ABS rotors installed to the BJ outer race of drive shaft against other parts when removing or installing the drive shaft. Otherwise the ABS rotors will be dam aged.
REMOVAL SERVICE POINTS
<> DRIVE SHAFT NUT REMOVAL
CAUTION: Do not apply pressure to the wheel bearing by the vehicle weight to avoid possible damage when the drive shaft nut is loosened.

Use special tool MB990767 to fix the hub and remove the drive shaft nut.
<> TIE ROD END DISCONNECTION
CAUTION:
^ Do not remove the nut from ball joint. Loosen it and use special tool MB991897 to avoid possible damage to ball joint threads.
^ Hang special tool MB991897 with cord to prevent it from falling.

1. Install the special tool MB991897 as shown in the figure.

2. Turn the bolt and knob as necessary to make the jaws of special tool MB991897 parallel, tighten the bolt by hand and confirm that the jaws are still parallel.
NOTE: When adjusting the jaws in parallel, make sure the knob is in the position shown in the figure.
3. Tighten the bolt with a wrench to disconnect the tie rod end.
<

1. Use special tools MB990241 (MB990242 and MB990244), MB991354 and MB990767 to push out the drive shaft or the drive shaft and inner shaft assembly from the hub.

2. Remove the drive shaft from the hub by pulling the bottom of the brake disc towards you.
CAUTION:
^ Do not pull on the drive shaft; doing so will damage the PTJ; be sure to use the pry bar.
^ When pulling the drive shaft out from the transaxle, be careful that the spline part of the drive shaft does not damage the oil seal.

3. Insert a pry bar between the transaxle case and the drive shaft, and then pry and remove the drive shaft from the transaxle.

4. If the inner shaft is hard to remove from the transaxle, strike the bracket assembly lightly with a plastic hammer and remove the inner shaft.

5. Use the special tool MB991460 to prevent the entry of foreign material into the transaxle case.

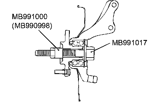
CAUTION: Do not apply pressure to the wheel bearing by the vehicle weight to avoid possible damage when the drive shaft is removed. If, however, vehicle weight must be applied to the bearing in moving the vehicle, temporarily secure the wheel bearing by using the special tools MB991000 (MB990998) and MB991017.
<
CAUTION: When pulling the output shaft out from the transaxle, be careful that the spline part of the output shaft does not damage the oil seal.

Use the special tool MB991721 to remove the output shaft.
INSTALLATION SERVICE POINTS
>>A<< OUTPUT SHAFT
CAUTION: When installing the output shaft, the drive shaft or the drive shaft and inner shaft assembly, be careful that the spline part of the output shaft, the drive shaft or the drive shaft and inner shaft assembly do not damage the oil seal.
>>B<< SELF-LOCKING NUT INSTALLATION

Tighten the self-locking nut so that the protruding length of the stabilizer link meets its standard value (A).
Standard value (A): 9.4 ± 0.4 mm (0.37 ± 0.02 inch)
>>C<< DRIVE SHAFT NUT INSTALLATION

1. Be sure to install the drive shaft washer in the specified direction.
CAUTION: Before securely tightening the drive shaft nuts, make sure there is no load on the wheel bearings. Otherwise the wheel bearing will be damaged.
2. Using special tool MB990767, tighten the drive shaft nut to the specified torque.