Operation CHARM: Car repair manuals for everyone.

Disassembly and Assembly






DISASSEMBLY AND ASSEMBLY
DISASSEMBLY SERVICE POINTS
[[A]] HUB REMOVAL

CAUTION: When the hub has been removed, always replace the wheel bearing with a new part because wheel bearing frictional surface will be damaged when removing the hub.





Use special tools MB991017, MB991056 or MB991355, MB991000 (MB990998) to pull out the hub from the knuckle.

[[B]] WHEEL BEARING REMOVAL





1. Crush the oil seal in two places so that the tabs of the special tool will be caught on the wheel bearing inner race (outside).

CAUTION: When removing the inner race (outside) from the hub, be careful not to let the hub drop.





2. Remove the wheel bearing inner race (outside) from the front hub by using special tool MB990810.





3. Install the inner race (outside) that was removed from the hub to the wheel bearing, and then use special tools MB990935, MB990938, and MB991056 or MB991355 to remove the wheel bearing.

ASSEMBLY SERVICE POINTS
]]A[[ WHEEL BEARING INSTALLATION
1. Fill the wheel bearing with multipurpose grease.
2. Apply a thin coating of multipurpose grease to the knuckle and bearing contact surfaces.

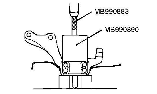
CAUTION: Press the outer race when pressing-in the wheel bearing. Otherwise the wheel bearing will be damaged.





3. Press-in the bearing by using special tools MB990883 and M B990890.

]]B[[ HUB INSTALLATION/HUB STARTING TORQUE CHECK





1. Tighten special tools MB991000 (MB990998) and MB991017 to the specified torque, and then press-in the hub into the knuckle.
2. Rotate the hub in order to seat the bearing.





3. Measure the hub starting torque by using the special tools MB990326 and MB990685.
Limit: 1.8 Nm (16 inch lbs.)
4. The starting torque must be within the limit and the hub rotation must be smooth.

]]C[[ WHEEL BEARING PLAY CHECK





1. Measure to determine whether the wheel bearing play is within the specified limit or not.
Limit: 0.05 mm (0.002 inch)
2. If the play is not within the limit range while the nut is tightened to 245 ± 29 Nm (181 ± 21 ft. lbs.), the bearing, hub and/or knuckle have probably not been installed correctly. Replace the bearing and re-install.

INSPECTION
^ Check the front hub and brake disc mounting surfaces for galling and contamination.
^ Check the knuckle inner surface for galling and cracks.