Timing Belt
Part 1 Of 2:

Part 2 Of 2:

TIMING BELT
REMOVAL AND INSTALLATION
REMOVAL SERVICE POINTS
CAUTION: Water or oil on the belt shortens its life drastically, so the removed timing belt, sprocket, and tensioner must be washed or immersed in solvent. Replace parts if contaminated. If there is oil or water on any part, check the front case oil seals, camshaft oil seal, and water pump for leaks.

1. Mark the belt running direction for reinstallation.
2. Loosen the tensioner pulley bolt, and then remove the timing belt.
[[B]] OIL PUMP SPROCKET REMOVAL
1. Remove the plug on the left side of the cylinder block.

2. Insert a Phillips screwdriver [shank diameter 8 mm (0.3 inch)] through the plug hole to block the left counterbalance shaft.
3. Loosen the nut, and then remove the oil pump sprocket.
[[C]] CRANKSHAFT BOLT LOOSENING

1. Install special tool MD998781 to hold the drive plate.
2. Loosen and remove the crankshaft bolt and washer.
[[D]] CRANKSHAFT SPROCKET REMOVAL

1. Set special tool MD998778 as shown in the illustration.
2. Screw in the center bolt of the special tool to remove the crankshaft sprocket.
CAUTION: Water or oil on the belt shortens its life drastically, so the removed timing belt, sprocket, and tensioner must be free from oil and water. These parts should not be washed or immersed in solvent. Replace parts if contaminated. If there is oil or water on each part, check the front case oil seals, camshaft oil seal and water pump for leaks.

1. Mark the belt running direction for reinstallation.
2. Loosen the tensioner "B" bolt, and then remove the timing belt "B."
[[F]] COUNTERBALANCE SHAFT SPROCKET REMOVAL

1. Set special tool MD998785 as shown to prevent the counterbalance shaft sprocket from turning together.
2. Loosen the bolt and remove the sprocket.
[[G]] CRANKSHAFT SPROCKET "B" REMOVAL

1. Set special tool MD998778 as shown in the illustration.
2. Screw in the center bolt of the special tool to remove crankshaft sprocket "B."
[[H]]CAMSHAFT SPROCKET REMOVAL

1. While holding the camshaft sprocket with special tools MB990767 and MD998719, loosen the camshaft sprocket bolt.
2. Remove the camshaft sprocket.
INSTALLATION SERVICE POINTS
]]A[[ CAMSHAFT SPROCKET INSTALLATION

1. Fit the camshaft sprocket to the front of the camshaft.
2. While holding the camshaft sprocket with special tools MB990767 and MD998719, tighten the camshaft sprocket bolt.
Tightening torque: 88 ± 10 Nm (65 ± 7 ft. lbs.)
]]B[[ ENGINE SUPPORT BRACKET INSTALLATION

Coat the threads of the seal bolt A in the illustration with 3M(TM) AAD Part number 8672 or equivalent before tightening.
Tightening torque: 49 ± 5 Nm (36 ± 4 ft. lbs.)
]]C[[ CRANKSHAFT SPROCKET "B" INSTALLATION

Clean and then degrease the front case of the front case, crankshaft sprocket "B" and crankshaft surface on which sprocket"B" is attached.
NOTE: Degreasing is necessary to prevent decrease in the friction between contacting surfaces.
]]D[[ SPACER INSTALLATION

1. Apply a thin coat of clean engine oil to the lip area of the oil seal.
2. Install the spacer with the chamfered end facing toward the oil seal.
]]E[[ COUNTERBALANCE SHAFT SPROCKET INSTALLATION

1. Install the counterbalance shaft sprocket and screw on the bolt.
2. Install special tool MD998785 as shown in the illustration to lock the counterbalance shaft.
3. Tighten the bolt, and then remove the special tool.
Tightening torque: 45 ± 3 Nm (33 ± 2 ft. lbs.)
]]F[[ TIMING BELT "B" INSTALLATION

1. Align timing marks on the crankshaft sprocket "B" and counterbalance shaft sprocket with the marks on the front case.
2. Install the timing belt "B" on the crankshaft sprocket "B" and counterbalance shaft sprocket. There should be no slack on the tension side.

3. Make sure that the tensioner pulley center and the bolt center are positioned as shown in the illustration.

4. Move tensioner "B"in the direction of the arrow while lifting with your finger to give sufficient tension to the tension side of timing belt. In this condition, tighten the bolt to secure tensioner "B." When the bolt is tightened, use care to prevent the tensioner pulley shaft from turning with the bolt. If the shaft is turned with the bolt, the belt will be over tensioned.
Tightening torque: 19 ± 3 Nm (14 ± 2 ft. lbs.)

5. Check that timing marks on the sprockets are aligned with the timing marks on the front case.
6. With your index finger, press the midway of span on the tension side of timing belt "B." The bolt must deflect 5 to 7 mm (0.20 to 0.28 inch).
]]G[[ CRANKSHAFT SENSING BLADE/CRANKSHAFT SPROCKET/CRANKSHAFT PULLEY WASHER/CRANKSHAFT BOLT INSTALLATION

1. Clean and then degrease the contacting surfaces of the crankshaft sprocket, sensing blade and crankshaft.
NOTE: Degreasing is necessary to prevent decrease in the friction between contacting surfaces.
2. Clean the bolt hole in the crankshaft, the crankshaft contacting surface of the crankshaft sprocket, and the washer.
3. Install the sensing blade and the crankshaft sprocket to the crankshaft.
4. Apply a small amount of engine oil to the threads and seating surface of the crankshaft bolt.
5. Install the washer to the crankshaft bolt with the larger chamfered side toward the bolt head.

6. Lock the drive plate using the special tool MD998781.
7. Tighten the crankshaft bolt to the specified torque.
Tightening torque: 167 Nm (123 ft. lbs.)
]]H[[ OIL PUMP SPROCKET INSTALLATION

1. Insert a Phillips head screwdriver [shank diameter 8 mm (0.3 inch)] through the plug hole on the left side of the cylinder block to block the left counterbalance shaft.
2. Install the oil pump sprocket.
3. Apply a thin coat of engine oil to the seating surface of the nut.
4. Tighten the nut to the specified torque.
Tightening torque: 54 ± 5 Nm (40 ± 4 ft. lbs.)
]]I[[ AUTO-TENSIONER INSTALLATION
If the auto-tensioner rod is fully extended, reset it as follows:

1. Clamp the auto-tensioner in a vise with soft jaws.

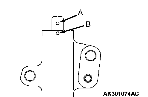
2. Push in the rod little by little with the vise until the set hole A in the rod is aligned with hole B in the cylinder.
3. Insert a wire [1.4 mm (0.055 inch) in diameter] into the set holes. This auto-tensioner setting wire will be used during timing belt alignment.
4. Unclamp the auto-tensioner from the vise.
CAUTION: Leave the wire installed in the auto-tensioner.

5. Install the auto-tensioner onto the front case and tighten to the specified torque.
Tightening torque: 23 ± 3 Nm (17 ± 2 ft. lbs.)
]]J[[ TENSIONER PULLEY INSTALLATION

Set the tensioner pulley so that the holes for attaching a wrench may be positioned as shown in the illustration.
]]K[[ TIMING BELT INSTALLATION

1. Align the timing mark on the camshaft sprocket with the timing mark on the rocker cover.

2. Align the timing mark on the crankshaft sprocket with the timing mark on the front case.

3. Align the timing mark on oil pump sprocket with its mating mark.

4. Remove the plug on the cylinder block and insert a Phillips head screwdriver [shank diameter 8 mm (0.3 inch)] through the hole.
If it can be inserted as deep as 60 mm (2.4 inches) or more, the timing marks are correctly aligned. if the inserted depth is only 20 to 25 mm (0.8 to 0.9 inch), turn the oil pump sprocket one turn and realign the timing marks. then check to ensure that the screwdriver can be inserted 60 mm (2.4 inches) or more. keep the screwdriver inserted until the timing belt is completely installed.

5. Set the special tool MD998738 as shown and screw it in up to the position where the wire inserted in the auto-tensioner when installing it can be moved lightly.
6. Install the timing belt on the crankshaft sprocket, oil pump sprocket, idler pulley, camshaft sprocket, and tensioner pulley in that order.

7. Lift up the tensioner pulley in the direction of the arrow and tighten the center bolt.
8. Check that all timing marks are aligned.
9. Remove the screwdriver inserted in step 5 and install the plug.

10. Turn the crankshaft a quarter turn counterclockwise. Then, turn it clockwise until the timing marks are aligned again.
11. Install special tool MD998767, socket wrench and torque wrench, onto the tensioner pulley, and loosen the tensioner pulley center bolt.
NOTE: Use a torque wrench that can measure 0 to 5.0 Nm (0 - 44 inch lbs.).
12. Torque to 3.5 Nm (31 inch lbs.) with the torque wrench.
13. Holding the tensioner pulley with special tool MD998767 and torque wrench, tighten the center bolt to specification.
Tightening torque: 48 ± 6 Nm (35 ± 4 ft. lbs.)

14. The wire inserted at the auto-tensioner installation is pulled out and then the special tool MD998738 is removed by hand.
15. Give two clockwise turns to the crankshaft. Wait for 15 minutes, then proceed with the following inspection steps.

16. Check to see whether the metal wire (inserted when the auto-tensioner was installed) can be removed without any resistance. If the metal wire can be removed without any resistance, it means that the belt has a proper tension. Therefore, remove the metal wire. In this condition, check that the rod protrusion of the auto-tensioner is within the standard value.
Standard value: 3.8 - 4.5 mm (0.15 - 0.17 inch)
17. If the metal wire offers resistance when removed, repeat the previous steps 10 through 15 until the standard value is obtained as measured by the rod projection of the auto-tensioner rod.
INSPECTION
TIMING BELT
Replace the belt if any of the following conditions exist:

1. Hardening of rubber backing. Back side should be glossy without resilience and leave no indent when pressed with fingernail.

2. Cracks on rubber back.
3. Cracks or peeling of canvas.
4. Cracks at bottom of ribs.
5. Cracks on belt sides.

6. Abnormal wear of belt sides. Normal wear is indicated if the sides are sharp as if cut by a knife. Abnormal wear is indicated if the sides are ragged.

7. Abnormal wear on teeth.
Initial stage: Canvas worn (fluffy canvas fibers, rubbery texture gone, white discoloration, canvas texture indistinct)
Final stage: Canvas worn, exposing rubber (tooth width reduced)
8. Missing tooth.
AUTO-TENSIONER

1. Check for oil leaks. If oil leaks are evident, replace the auto-tensioner.
2. Check the rod end for wear or damage and replace the auto-tensioner if necessary.
3. Measure the rod protrusion. If it is out of specification, replace the auto tensioner.
Standard value: 12 mm (0.5 inch)

4. Press the rod with a force of 98 to 196 N (22 to 44 pound) and measure the movement of the rod.
If the measured value is out of the standard value, replace the auto-tensioner.
Standard value: 1.0 mm (0.03 inch) or less
VALVE CLEARANCE ADJUSTMENT
Perform the adjustment of the valve clearance in the following procedure.
CAUTION: Rotate the crankshaft clockwise at any time.

2. Rotate crankshaft clockwise and then align the timing mark on the camshaft sprocket with the timing mark on the cylinder head. (Place No. 1 cylinder on the top dead center of compression stroke.)

3. Measure the valve clearance marked with arrows shown in the figure.
A: When No. 1 cylinder is on the top dead center of compression stroke.
B:When No.4 cylinder is on the top dead center of compression stroke.

4. Using a thickness gauge, adjust the clearance between the valve shaft end and the adjusting screw.
Standard value (in cold state):
Intake side: 0.11 mm
Exhaust side: 0.20 mm
NOTE: After the engine assembly is installed on the vehicle, check the valve clearance again in the engine warm-up state. Adjust if necessary.
5. Hold the adjusting screw not rotating through a driver and then tighten the rock nut.
6. Rotate the crankshaft one time clockwise and then align the timing mark with the timing mark on the crankshaft sprocket. (Place No. 4 cylinder on the top dead center of compression stroke.)
7. Adjust the valve clearance for the rest of the valves.
8. Install the rocker cover.