Rocker Arms and Camshaft
Part 1 Of 2:

Part 2 Of 2:

ROCKER ARMS AND CAMSHAFT
REMOVAL AND INSTALLATION
REMOVAL SERVICE POINT
[[A]] ROCKER ARMS AND ROCKER ARM SHAFT REMOVAL
When the rocker arm is removed from the rocker shaft, keep them with the tags that show the installation location for the reinstallation of the rocker arm, the T-lever, the piston arm assembly and so on.
INSTALLATION SERVICE POINTS
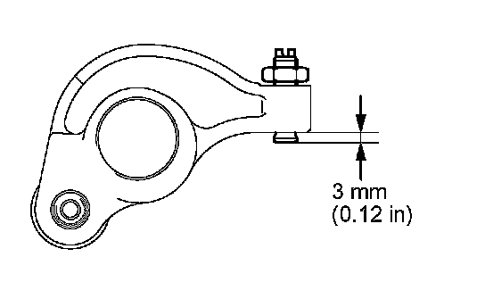
]]A[[ ADJUSTING SCREW INSTALLATION

Install provisionally the screw to rocker arm, insert it so that end of the screw is flush with the edge of the rocker arm or projects slightly 3 mm (0.12 inch).
]]B[[ ROCKER SHAFT SPRING/ROCKER ARMS AND ROCKER ARM SHAFT INSTALLATION
1. In accordance with the tags for the reinstallation, install the rocker arm and so on to the rocker arm shaft.

2. Install the more chamfered rocker arm shaft to the timing belt.
3. Install the rocker arm shaft with oil hole to the lower (cylinder head) side.

4. Install the rocker arm, rocker arm shaft assembly and intake temporarily.
5. Install the rocker arm, rocker arm shaft assembly and exhaust temporarily.
6. Confirm the each rocker arm and rocker arm shaft assembly are in position and then tighten to the specified torque.
Tightening torque:
M6: 13 ± 1 Nm
M8: 31 ± 3 Nm
]]C[[ CAMSHAFT OIL SEAL INSTALLATION

1. Apply engine oil to the lip area of the oil seal and the front end outside diameter of camshaft.
2. Using special tool MD998713, install the camshaft oil seal.
INSPECTION
CAMSHAFT


Measure the cam height. If it is below the limit, replace the camshaft.
A: Intake low speed cam A
Standard value 33.84 mm (1.332 inch)
Minimum Limit 33.34 mm (1.313 inch)
B: Intake low speed cam B
Standard value 37.35 mm (1.471 inch)
Minimum Limit 36.85 mm (1.451 inch)
C: Intake high speed cam
Standard value 37.21 mm (1.465 inch)
Minimum Limit 36.71 mm (1.445 inch)
D: Exhaust cam
Standard value 37.86 mm (1.491 inch)
Minimum Limit 37.36 mm (1.471 inch)