Intake Manifold and Water Pump

INTAKE MANIFOLD AND WATER PUMP
REMOVAL AND INSTALLATION
REMOVAL SERVICE POINT
[[A]] OIL PRESSURE SWITCH REMOVAL

Using special tool MD998054, removal the oil pressure switch.
INSTALLATION SERVICE POINTS
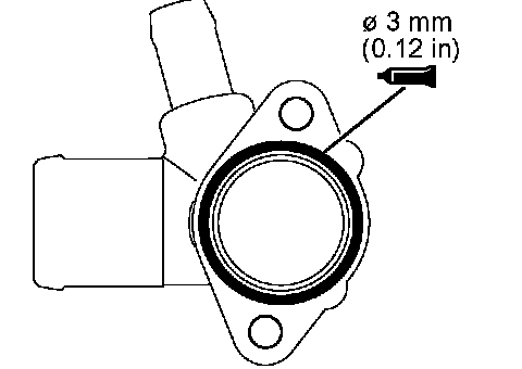
]]A[[ WATER OUTLET FITTING INSTALLATION

1. Apply a 3 mm (0.12 inch) diameter bead of sealant. (MITSUBISHI Genuine Part number MD970389) to the groove as shown in the illustration.
2. Install the housing quickly (within 15 minutes) while the sealant is wet and tighten the bolts to the specified torque.
Tightening torque: 13 ± 2 Nm (115 ± 17 inch lbs.)
NOTE: After installation, keep the sealed area away from the coolant for approximately one hour.
]]B[[ SEALANT APPLICATION TO ENGINE COOLANT TEMPERATURE SENSOR

Apply 3M(TM) AAD Part number 8731 or equivalent to the engine coolant temperature sensor.
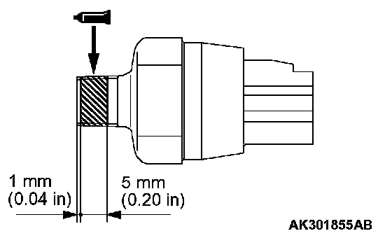
]]C[[ SEALANT APPLICATION TO OIL PRESSURE SWITCH
CAUTION: Do not block the oil passage with sealant.

Apply 3M(TM) AAD Part number 8672 or equivalent to the threads of the oil pressure switch.
]]D[[ SEALANT APPLICATION TO OIL PRESSURE
CAUTION: Do not block the oil passage with sealant.

1. Apply 3M(TM) AAD Part number 8672 or equivalent to the threads of the oil pressure switch.

2. Using special tool MD998054, tighten the oil pressure switch to the specified torque.
Tightening torque: 19 ± 3 Nm (14 ± 2 ft. lbs.)
]]E[[ THERMOSTAT HOUSING INSTALLATION

1. Apply a 3 mm (0.12 inch) diameter bead of sealant MITSUBISHI Genuine Part number MD970389 or equivalent to the groove as shown in the illustration.

2. Coat the threads of the seal bolt in the illustration with 3M(TM) AAD Part number 8672 or equivalent before tightening.
3. Install the housing quickly (within 15 minutes) while the sealant is wet and tighten the bolts to the specified torque.
Tightening torque: 24 ± 4 Nm (18 ± 2 ft. lbs.)
NOTE: After installation, keep the sealed area away from the coolant for approximately one hour.
]]F[[ THERMOSTAT INSTALLATION

1. Check that the rubber ring is undamaged and seated correctly in the thermostat flange.
2. Install the thermostat as shown in the illustration. The jiggle valve must be at the uppermost position.
]]G[[ SEALANT APPLICATION TO ENGINE COOLANT TEMPERATURE GAUGE UNIT

Apply 3M(TM) AAD Part number 8672 or equivalent to the engine coolant temperature gauge unit.
]]H[[ INTAKE MANIFOLD STAY INSTALLATION

1. Install the intake manifold stay and tighten the bolts just finger tight.
2. Check to ensure that the stay is in close contact with the bosses of the intake manifold and cylinder block.
3. First tighten the intake manifold side bolts to the specified torque, then the cylinder block side bolts to the specified torque.
Tightening torque: 31 ± 3 Nm (23 ± 2 ft. lbs.)
CAUTION: Keep the O-ring free of oil or grease.

1. Attach a new O-ring to each end of the water inlet pipe.
2. Wet the O-ring with water.
3. Insert the rear end of the pipe into the thermostat housing.