Cylinder Head and Valves

CYLINDER HEAD AND VALVES
REMOVAL AND INSTALLATION
REMOVAL SERVICE POINTS
[[A]] CYLINDER HEAD BOLTS REMOVAL

Using special tool MB991654, loosen the cylinder head bolts. Loosen each bolt evenly, little by little, by two or three steps.
[[B]] RETAINER LOCK REMOVAL

1. Set special tool MD998735 as illustrated to compress the valve spring. Remove the retainer lock.
2. Relieve the spring tension and remove the valve, retainer, spring, etc. Store removed valves, springs, and other parts, tagged to indicate their cylinder number and location for assembly.
INSTALLATION SERVICE POINTS
CAUTION: The special tool must be used to install the valve stem seal. Improper installation could result in oil leaking past the valve guide.

1. Install the valve spring seat.
2. Using special tool MD998774, install a new valve stem seal.
]]B[[ VALVE SPRING INSTALLATION

Install the valve spring with its identification color painted end (larger pitch side) upward (toward the valve spring retainer).
Identification:
CAUTION: Do not compress the valve spring excessively. It can damage the stem seal.

1. Set special tool MD998735 as illustrated to compress the valve spring. Install the retainer locks.
2. Relieve the spring tension. Check that the retainer locks are seated correctly.
]]D[[ CYLINDER HEAD BOLT INSTALLATION

1. When the removed cylinder head bolts are to be reused, check that the shank length of each bolt meets the limit. If it exceeds the limit, replace the bolts.
Limit: 99.4 mm (3.91 inches)
2. Apply engine oil to the thread of the bolts and to the washers.


3. Using special tool MB991654 tighten the bolts to the specified torque, using the tightening sequence shown.
Tightening torque: 78 ± 2 (58 ± 2 ft. lbs.)
4. Loosen all bolts fully in the reverse order of tightening.
5. Retighten the loosened bolts to in the tightening sequence shown.
Tightening torque: 20 ± 2 (15 ± 1 ft. lbs.)

6. Make a paint mark across each bolt head and cylinder head.
7. Tighten the cylinder head bolts 90 degrees in the specified order.
CAUTION:
^ If the bolt is turned less than 90 degrees, proper fastening performance may not be achieved. Be careful to turn each bolt exactly 90 degrees.
^ If the bolt is overtightened, loosen the bolt completely and then retighten it by repeating the tightening procedure from step 1.
8. Tighten the bolts another 90 degrees in the same order as in step 7, and check that the paint marks on the cylinder head bolt are aligned with the paint marks on the cylinder head.
INSPECTION
CYLINDER HEAD

1. Check the cylinder head gasket surface for flatness by using a straight edge and feeler gauge.
Standard value: 0.03 mm (0.001 inch)
Limit: 0.2 mm (0.007 inch)
2. If it exceeds the limit, correct to meet specification.
Grinding limit: *0.2 mm (0.007 inch)
^ Includes combined with cylinder block grinding.
Cylinder head height (Specification when new): 120 mm (4.7 inches)
VALVE

1. Check the valve seat contact. Valve seat contact should be uniform at the center of the valve face. If incorrect, reface using a valve refacer.
2. If the margin is below the limit, replace the valve.
Standard value:
Minimum limit:

3. Measure the valve's total length. If the measurement is less than the limit, replace the valve.
Standard value:
Minimum limit:
VALVE SPRING

1. Measure the free height of the spring. If it is less than the limit, replace.
Standard value:
Minimum limit:
2. Measure the squareness of the spring. If it exceeds the limit, replace.
Standard value: 2 degrees or less
Limit: 4 degrees
VALVE GUIDE

Measure the clearance between the valve guide and valve stem. If it exceeds the limit, replace the valve guide or valve, or both.
Standard value:
Limit:
VALVE SEAT

Assemble the valve, then measure the valve stem projection between the end of the valve stem and the spring seating surface. If the measurement exceeds the specified limit, replace the valve seat.
Standard value:
Limit:
VALVE SEAT RECONDITIONING PROCEDURE

1. Before correcting the valve seat, check for clearance between the valve guide and valve and, if necessary, replace the valve guide.
2. Using the seat grinder, correct to obtain the specified seat width and angle.
3. After correcting the valve seat, lap the valve and valve seat using lapping compound. Then, check the valve stem projection.
VALVE SEAT REPLACEMENT PROCEDURE

1. Cut the valve seat from the inside to thin the wall thickness. Then, remove the valve seat.

2. Rebore the valve seat hole in the cylinder head to a selected oversize valve seat diameter.
Intake seat ring hole diameters
0.3 oversize: 35.30 - 35.33 mm (1.3898 - 1.3909 inches)
0.6 oversize: 35.60 - 35.63 mm (1.4016 - 1.4028 inches)
Exhaust seat ring hole diameters
0.3 oversize: 33.30 - 33.33 mm (1.3110 - 1.3122 inches)
0.6 oversize: 33.60 - 33.63 mm (1.3228 - 1.3240 inches)
3. Before fitting the valve seat, either heat the cylinder head up to approximately 250°C (482°F) or cool the valve seat in liquid nitrogen, to prevent the cylinder head bore from galling.
4. Using a valve seat cutter, correct the valve seat to the specified width and angle.
VALVE GUIDE REPLACEMENT PROCEDURE
1. Using a press, remove the valve guide toward the cylinder block.
CAUTION: Do not install a valve guide of the same size again.
2. Rebore the valve guide hole of the cylinder head so that it fits the press-fitted oversize valve guide. Valve guide hole diameters
0.05 oversize 11.05 - 11.07 mm (0.4350 - 0.4358 inch)
0.25 oversize 11.25 - 11.27 mm (0.4429 - 0.4437 inch)
0.50 oversize 11.50 - 11.52 mm (0.4528 - 0.4535 inch)

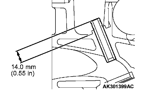
3. Press-fit the valve guide until it protrudes 14.0 mm (0.55 inch) from the cylinder head top surface as shown in the illustration.
NOTE: When press-fitting the valve guide, work from the cylinder head top surface.
NOTE: Pay attention to the difference in length of the valve guides. [Intake side: 45.5 mm (1.79 inches); exhaust side: 50.5 mm (1.99 inches)]
NOTE: After installing the valve guides, insert new valves in them to check for smooth operation.